PiPod
Creating a music player with a Raspberry Pi Pico.
Creating a music player with a Raspberry Pi Pico.
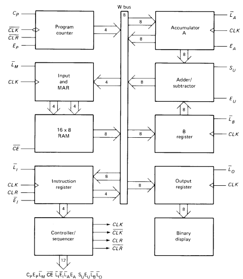
My attempt to recreate the SAP-1 computer from Digital Computer Electronics - Malvino & Brown.
A simple web app for classifying the breed of a dog, given the input image file.
Implemented a genetic programming algorithm for designing ALU logic circuits. This project was able to design 1-bit ALUs performing addition, logical AND, OR, and NOT with 70% accuracy